使って見ました。能書きどーりに出来なきゃモンク言うぞ。
で、問題は「どんな田んぼにでも使えるか?」ってコトで田んぼの形は何も四角いのばかりじゃありませんし、(さすがに「丸い」のはないけど)台形なんて当たり前で三角やら「ひょっこりヒョウタン島」みたいのもある。幅だって10mの倍数、7.5mの倍数に限った訳じゃありません。
正形の田んぼで5mの倍数幅なら丸山のハイクリブーム、通称「ふん転がし」でも使えるわけですが、標準で液剤のみでオプションでの散粒仕様。ウチら液剤なんてまぁ使わんもの。田んぼで液剤って言えば「イモチの消毒」なんですが、そんなもん、まずせん。いつぞや丸山さんに「散粒のみ作らんの?」って尋ねたら「ウチはポンプ屋のプライドがあるから散粒だけって言うのは要望があっても作りませんっ」っとキッパリ。挙げ句の果てに「田植機との兼用機は本機350に作業機150計500万要りますがこの機械は、300万で買えます」って。
「あのなぁ、差額の200万で8条の施肥付き買えるかぁ?」結局、トータルコストや格納スペース考えたら兼用機の方がずっと経済的。「んならこんなモン要らん」がワタシの答え。こんなメーカーや丸山さんは。隊員時代に供与機材の時もカタログに載っているのに「ないっ」て断言したんは、あんたんとこだけや、今やで言うけど。ユーザーを何と思っとるんやろ?
こんな5m単位でしか散布幅を変えられなかったら、途中で散布幅を縮めていかにゃならない三角や変形の圃場なんかでは、どうやって均一散布するの?はっきり言って使いモンにならんで、この程度では。でも最近OEMでクボタなんかでも売っているし、じわじわ配備数も増えてきているけどお使いの皆さんは変形圃場でどうやてふっているのか、是非教えて頂きたいモノです。冗談抜きで。
![]() |
![]() |
| フンコロガシみたいな形状のハイクリブーム。右が標準機で液剤散布専用。左が後部にオプションの散粒ユニットを付けたモノで散布幅は10m。現行型は一応こいつも1−60kgの散布量に対応。しかし散布幅の調節は、全散布と、右または左の5mずつ。散布量の調節は運転席にてワンタッチでできなかったハズ。最近普及の兆しアリ。 | |
実際の作業となると、コントロールBOXで散布重量の設定になるわけですが、機械の構造上「電動モーター」での資材の繰り出しですので「重さ」より「カサ(体積)」での繰り出しになるわけで、それにはまず散布する資材の「比重出し」という「儀式」から始めななりません訳です。
メスカップで肥料等の1L(りっとる)の「カサ」体積を量って、それの重量を量る。この「比重出し」が散布精度のカギになるわけでこいつが「きっちり」出ると設定重量通りの超高精度散布が可能になるわけです。そのため御丁寧にも、きっちり1Lのメスカップも2kgの秤(ピンクのかわいいキッチン秤だぜぃ)も付属品で入っている。
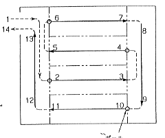
いざ、圃場へ入る段になって、悩むのが「どーやって通ったら一番踏まんか?」と言う走行ルートの問題。7.5mで8条の田植機での3行程分がちょうどビークルの1行程分になるわけで、ないアタマ絞って考えた結果、出入り口側の畦から2行程目の中央の12条目から24条間隔で目印の竹竿なんかを立てて散布。これなら田植えで通った条間を通るのでまずストレート部分で稲を踏むことは皆無。下の写真の100mx30mの正形の3反圃場なら2往復。
![]() |
取扱説明書にある左図のルートが結局一番踏まないコース。枕地を除く真ん中2行程を先に通って最後に枕地を含めて外側をグルっと通るのが正形の圃場ではベスト。 |
![]() |
| 肥料散布の図。ブーム全開7.5m。8条の田植機3行程分の植え条で24条。ブームの先端より吐出口2個ずつの幅(1.2m)で植え条で4条ずつの幅で散布幅が左右独立して狭く出来る。最小で中央部4条分1.2m。残念ながら「先っちょだけ散布」はムリです。 |
ホンマに比重さえキッチリ合えば散布誤差は1−3%の超高精度。実際に1袋20kgの化成肥料8袋160kgを散布して残り1.5kg以下の残量。1%以下の散布誤差。これには使っている本人もビックリでした。
除草剤をはじめ1kg剤や3kg剤も当然散布可能なのですが、使ったことがない。最初の除草剤散布時期はまだ田植えが終わっていないので、合体変形散布仕様に出来ませーん。
問題山積 哀しき19番機 勝手にエボリューション
何せ「製品版市販機」って言っても量産ってトコロまで売れてないので機械の完成度なんてモンは、「プロト機に毛が生えた様な」モンです。基本コンセプトと使い勝手は「痒い所に手が届く的」にモンク言いの私が絶賛するくらいの極めていい機械なのにもっと売れると思っていたのに意外なまでに売れてない。開発も1メーカーのみじゃなくて生研機構が複数メーカーと組んでの共同開発だし、数が出てないのでトラブル、不都合、モンクや要改良点等のユーザーの声が開発側に伝わってない感じ。実際に上半身の散布部分は「初田工業」の製品だし下半身のブロアー部分は「共立」の製品だし、共同開発とは聞こえはいいが悪く言えば「寄せ集め」。部位ごとに問い合わせ先が変わる・・・。レーシングマシンかいっ?
具体的には繰り出しロール下のエアチャンバーの部品の合わせ目やこれを繋ぐゴムホースからのエアーが漏れる。エアーが漏れるので資材の粉も吹き出して傍周し(はたまわし)真っ白になるわ、エアーが漏れるので風量も不足気味だし。「肥料と農薬が同時散布出来ます」って書いてあるのに出来ない。(まぁ使わんけどカタログや説明書に載っているコトがなかったり出来ないと癪でしょうがない。jaroに言うぞ。ホンマ文句言いやな)「21番機以降では出来ます」ってウチの19番機だぜ。あぁ哀しき19番機。結局は何だかんだ言っても徹底的に最終バージョン並に対策部品組み込んでもらってますが、ほとんどセミワークス並のメーカーさんとのつき合い。ホンマに共同開発だわ。
化成肥料なみに反あたり1袋(20kg)くらいの散布量ならそれはそれは設定通りに散布出来ますが60kgまで対応って言っても資材の比重で大きく「カサ」が変わるわけで実際どれだけ大量散布ができるか?と言う点では、40L(リッター)強が限度。それ以上になるとどうしてもホースの中に資材の「滞り」が生じて設定通りに散布不可能。原因はブロアーの風量不足。この散粒機でブロアーの回転数は5000rpmなのですが、液剤散布機は6000rpm。っちゅうコトは6000rpmまでは増速可能と考えていいはず。
| 御存知の方も多いと思いますが、ブロアー等で気流を発生させるのに問題は流速で音速時が最大でそれ以上流速を上げても「音だけ」大きくなるだけで流量は減少するそうです。F3のリストラクターを装着したインダクションBOXの形状等は吸気の流速を如何に音速に近づけて効率を上げるかがカギっていうようなことが以前クルマの本に書いてありました。「マッハでGo」かぁ? |
メーカーさんに訊いても「6000rpmまでならOKです。」ってことで「プーリー径の変更で20%増速。楽勝やん」と思いきやプーリー径を替えるにも一次側を大径化しようとすると他の部分と干渉するし、二次側の小径化って言っても元が小さいので2割もムリ。結局一次側、二次側を両方とも変更という思いも寄らぬ面倒な作業になっちゃいました。さすがに2割上げると50Lまでなら問題なしに吐出します。
ブロアー回っているときはホッパーの中を空気で攪拌している訳ですが、この空気攪拌で「粉化しやすい資材」潰れて粉になりやすい資材がクセモノで繰り出しロール部で「棚をかいて」ブリッジになって流れない。粒状物散布機なので粉は散布出来ませーん。以前一度中国産の有機100%肥料を使ったときにおそらく材料に骨粉を使ってあるようで、粉のクセに「ネトーっ」として流れない。ちょうど石灰や小麦粉のような「粒子は細かいけれど粘りのある」系は特にだめ。その資材はもう二度と買わんだ。
機械の使用条件条肥料に触れやすい部分はステンレスが多用されています。ブームもステンで作ってある。錆びないと言う点ではいいのですが、「重い」。2.5mあるブームを固定しているのがほんの根元にステンの5mmネジ6本。散布時に圃場の耕磐の凸凹でかなり揺れるとブームの先端ではかなりの振幅とモーメントが発生するわけで、すると応力は必然的に弱い所に効いてくるわけでその結果下図の如く。
![]() |
![]() |
| ブームのモーメントが根元部分に集中して、このように歪みが発生。 | 拡大するとクラックが発生している。もちろん溶接で修理済み。加えてボルトを増設して補強。 |
しかし、一番の問題は予想外のオーバーヒートが起きること。一般的に考えてホコリの発生しない水田で、しかも水の上でなんで田植機がオーバーヒート起こすわけ?詳しくはこちら「まさかまさまのこんなトラブル」へどーぞ
つづく To Be Continue